首页
产品中心
变压器
互感器
传感器
开关电源
电抗器
行业应用
电力自动化、智能化
电源设备
轨道交通
工业自动化
下载中心
新闻资讯
关于我们
联系我们
加入我们
登录
注册
EN
STA3340系列保护用立式穿芯盒式三相电流互感器
4.gif
STA3340系列保护用立式穿芯盒式三相电流互感器
、特点:
1.立式穿芯,安装方式灵活,既可固定于母线上,又可固定在底板上;
2.母线穿孔为圆形,呈“品”字形排列;
3.输出端子为标准插座,并配套供应插头,使用方便;
4.盒式结构,塑壳封闭,外形美观。
STA3340系列标准产品通用技术参数:

    一、特点:

    1.立式穿芯,安装方式灵活,既可固定于母线上,又可固定在底板上;

    2.母线穿孔为圆形,呈字形排列;

    3.输出端子为标准插座,并配套供应插头,使用方便;

    4.盒式结构,塑壳封闭,外形美观。

 

    二、使用环境条件:

    1.环境温度:-55℃~+55℃

    2.相对湿度:温度为40℃时不大于90%

    3.大气压力:860~1060mbar(约为650~800mmHg)

 

    三、工作频率范围:20Hz~1kHz

 

    四、绝缘耐热等级:80℃

 

    五、安全特性:

    1.绝缘电阻:常态时大于1000MΩ

    2.抗电强度:可承受工频6kV/1分钟;

    3.阻燃性:符合UL94-V0级。

 

    六、外形图、安装尺寸和线圈图:

    1.外形图见下图一

 image.png

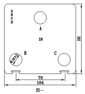
    2.安装尺寸图见图二

image.png

    ● 说明:每只产品配套供给一个插头,下见安装说明。

    3.线圈图见图三

image.png

    4.安装说明

    4只支脚(随产品配套供应)。按右图所示插入底板支脚插孔。插到底时,安装孔中心距为50.0×71.0;支脚孔径为Φ5.0;可用M4螺钉将互感器固定在底板上。

 

    七、性能参数:

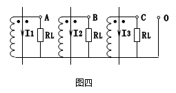
    按图四所示应用时性能参数见下表:

  image.png

产品型号

额定

输入电流

额定

输出电流

额定

采样电阻

额定

采样电压

相移

非线性度

线性范围

STA3340-01

3Φ-10A

3Φ-1mA

3Φ-200Ω/Y0

3Φ-200mV/

≤60’

≤1%

12.5倍额定

STA3340-02

3Φ-25A

3Φ-1mA

STA3340-03

3Φ-50A

3Φ-1mA

STA3340-04

3Φ-100A

3Φ-1mA


应用案例
以市场需求为导向-不断创新-关注客户
标准产品预定
定制产品预定
搜索